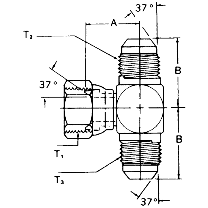
Steel Adapters, Female JIC 37 deg Flare Swivel Branch To Male JIC 37 deg Flare Run, Tee

Products