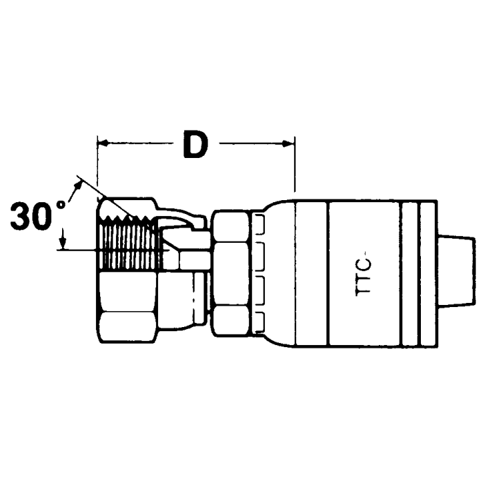
Global TTC 1 & 2 Wire Braid Steel Crimp Fittings, Female JIS 30 deg Flare Swivel, Straight

Products