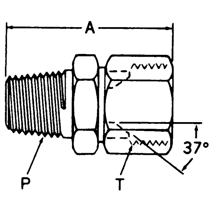
Steel Adapters, Male NPT To Female JIC 37 deg Flare Swivel, Straight

Products