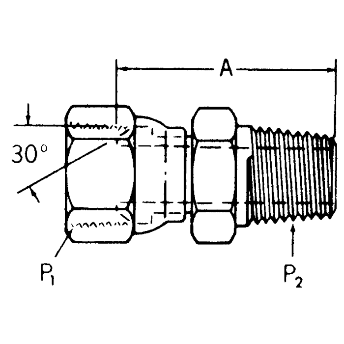
Steel Adapters, Female NPT Swivel To Male NPT, Straight

Products