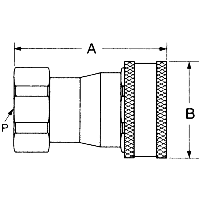
HK Series Industrial Interchange Series B Steel Hydraulic Quick Disconnects, Female Half, Female NPT

Products