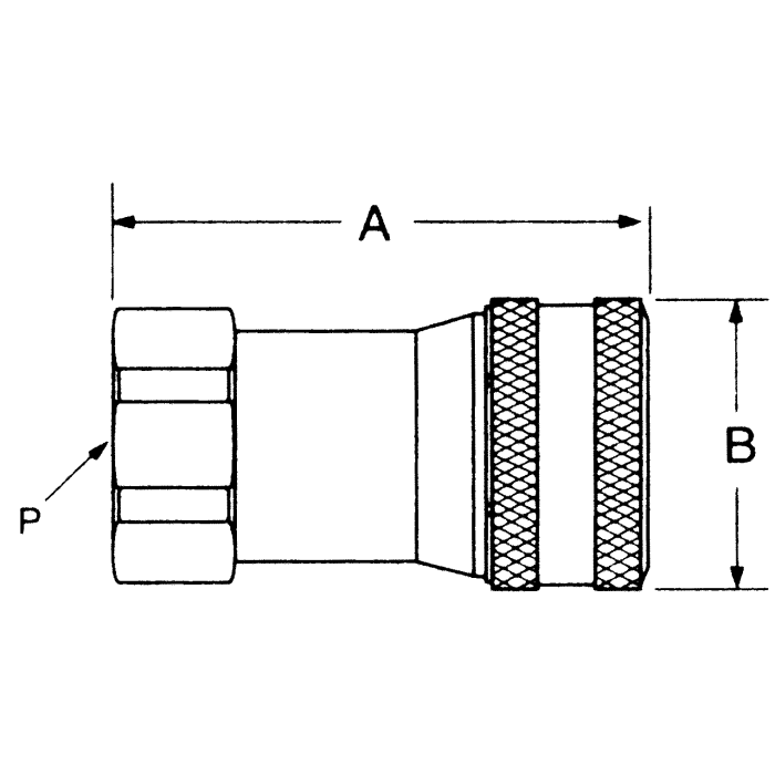
5600 Series Industrial Interchange Quick Disconnects, Female Half, Coupling, Female NPT

Products