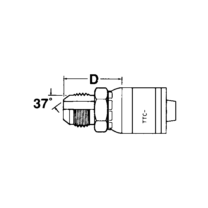
Global TTC 1 & 2 Wire Braid Steel Crimp Fittings, Male JIC 37 deg Flare, Straight

Products