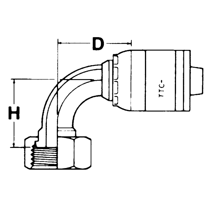
Global TTC 1 & 2 Wire Braid Steel Crimp Fittings, Female O-Ring Face Seal Swivel, 90 deg Elbow

Products