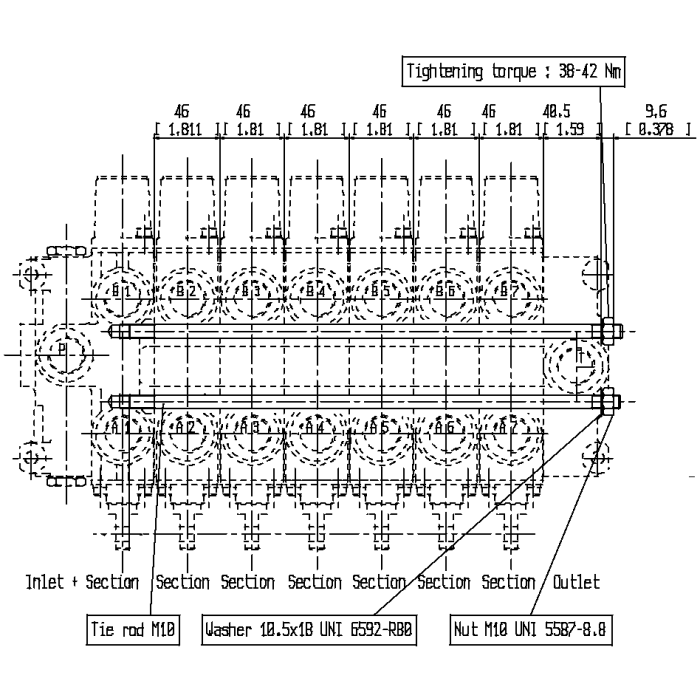
VD10A Series Assembly Kits

Products