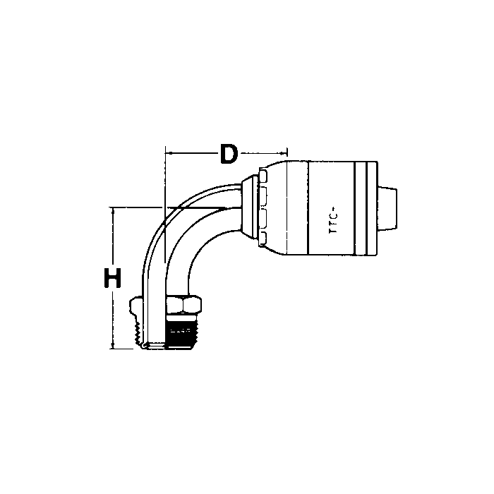
Global TTC 1 & 2 Wire Braid Steel Crimp Fittings, Male SAE Inverted Flare, 90 deg Elbow

Products