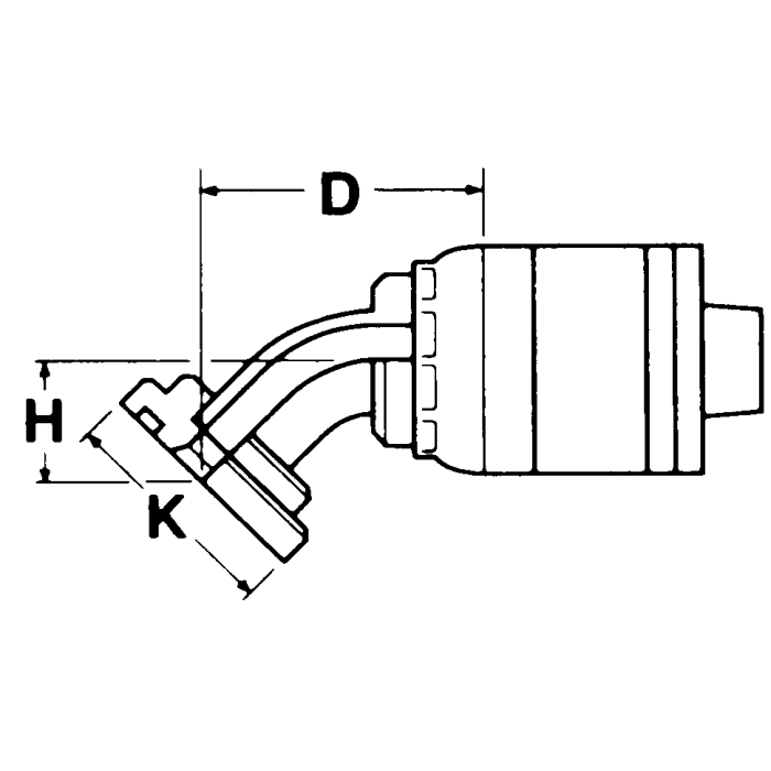
Global TTC 1 & 2 Wire Braid Steel Crimp Fittings, Female Komatsu Split Flange, 45 deg Elbow

Products