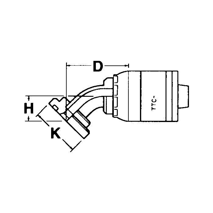
Global TTC 1 & 2 Wire Braid Steel Crimp Fittings, SAE Code 61 Split Flange, 45 deg Elbow

Products