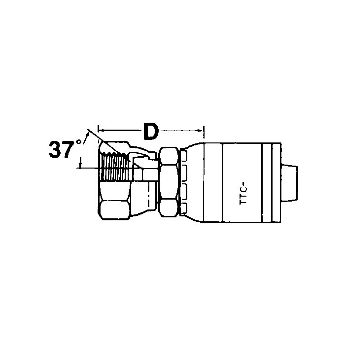
Global TTC 1 & 2 Wire Braid Stainless Steel Crimp Fittings, Female JIC 37 deg Flare Swivel, Straight

Products