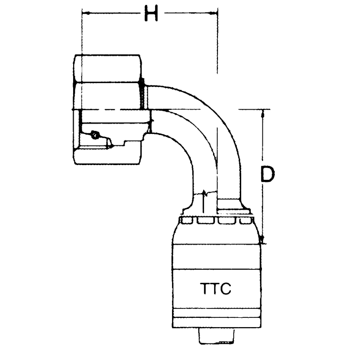
Global TTC 1 & 2 Wire Braid Stainless Steel Crimp Fittings, Female DKO (German) Heavy Series, 90 deg Elbow

Products