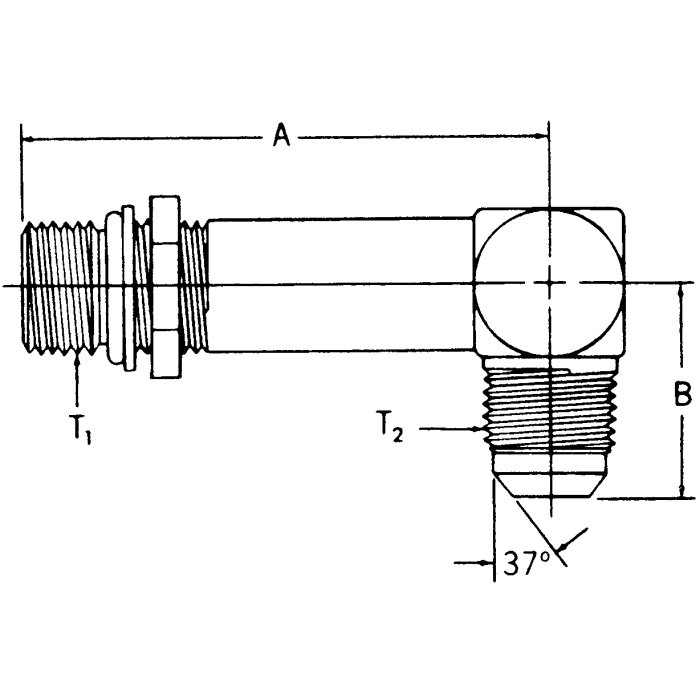
Steel Adapters, Male SAE O-Ring Boss (Straight Thread O-Ring) To Male JIC 37 deg Flare, Long 90 deg Elbow

Products