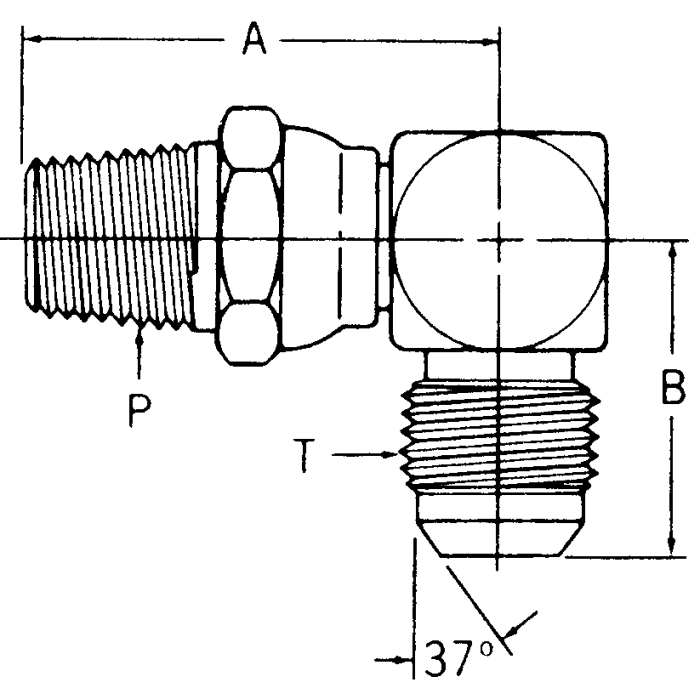
Steel Adapters, Male NPT Swivel To Male JIC 37 deg Flare, 90 deg Elbow

Products