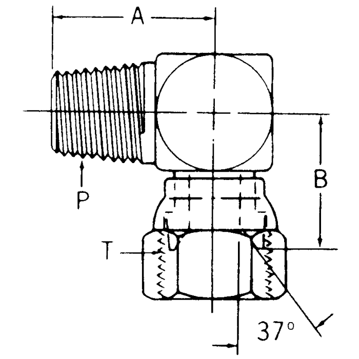
Steel Adapters, Male NPT To Female JIC 37 deg Flare Swivel, 90 deg Elbow

Products