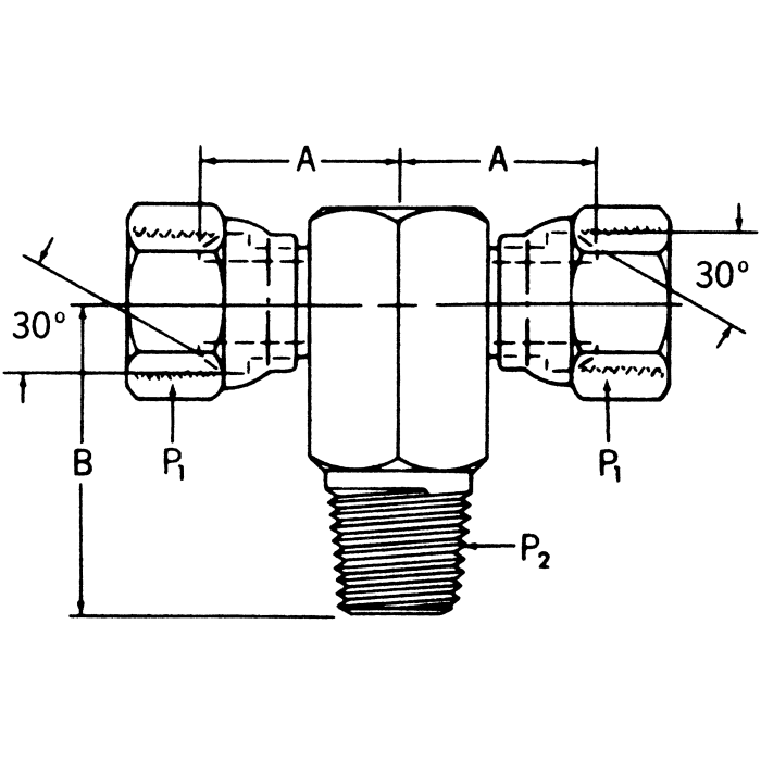
Steel Adapters, Female NPT Swivel Run To Male NPT Branch, Tee

Products