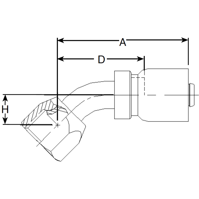
Steel Crimp 1 Wire Braid Reduced Bore Fittings, Female JIC 37 deg Flare Swivel, 45 deg Elbow

Products