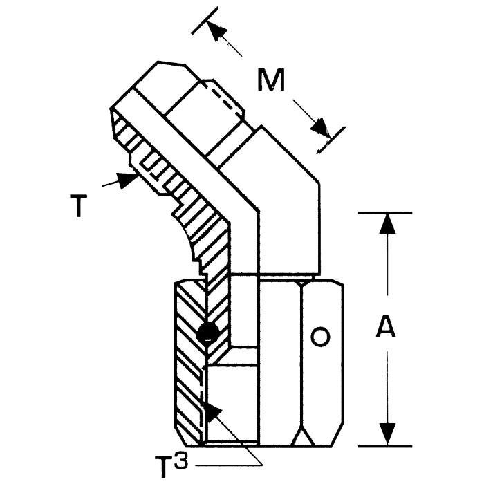
Stainless Steel Adapters, Male JIC 37 deg Flare To Female JIC 37 deg Flare Swivel, 45 deg Elbow

Products