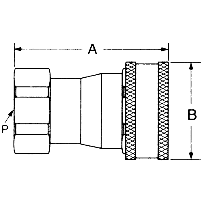
HK Series Industrial Interchange Series B Brass Hydraulic Quick Disconnects, Female Half, Female NPT

Products