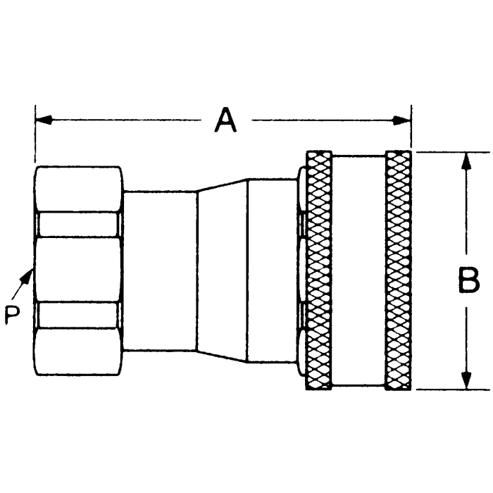
HK Series Industrial Interchange Series B StainlessSteel Hydraulic Quick Disconnects, Female Half, Female NPT

Products