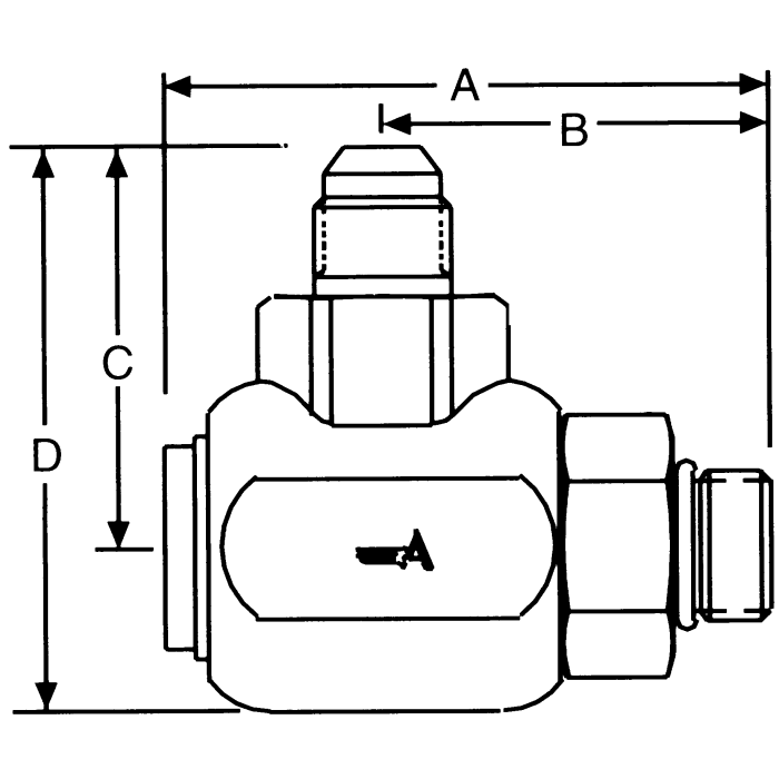
FS65 Series Standard Duty Balanced Pressure Swivel Joints, Male JIC 37 deg Flare Casing To Male SAE O-Ring Boss Sleeve

Products