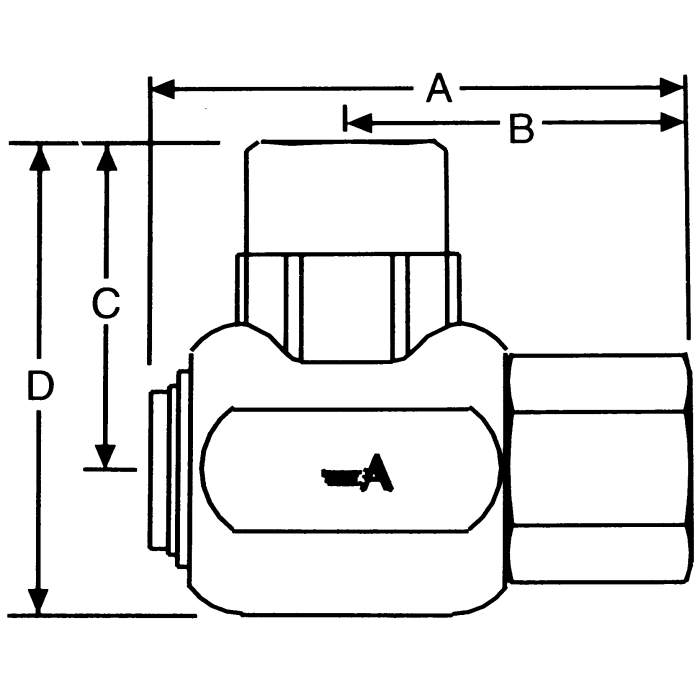
FS65 Series Standard Duty Balanced Pressure Swivel Joints, Female Pipe Casing To Female Pipe Sleeve

Products