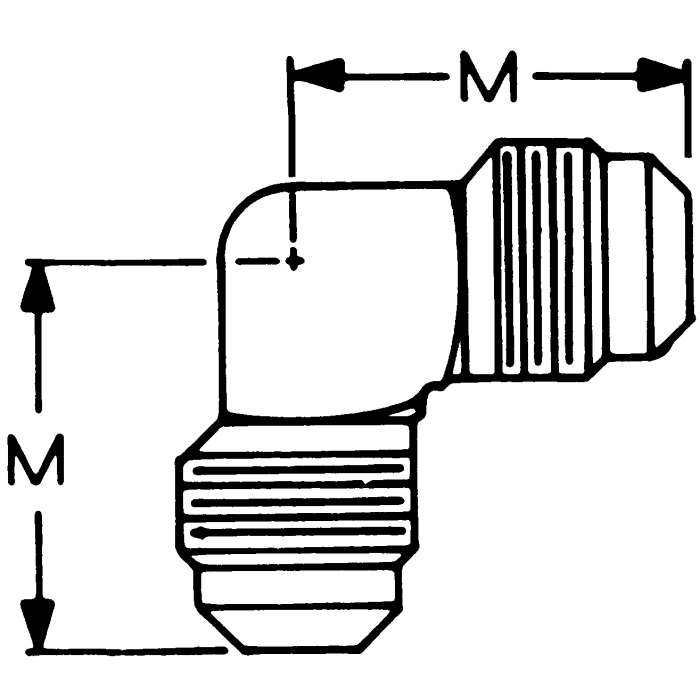
Brass Adapters, Male SAE 45 deg Flare To Male SAE 45 deg Flare, 90 deg Elbow

Products