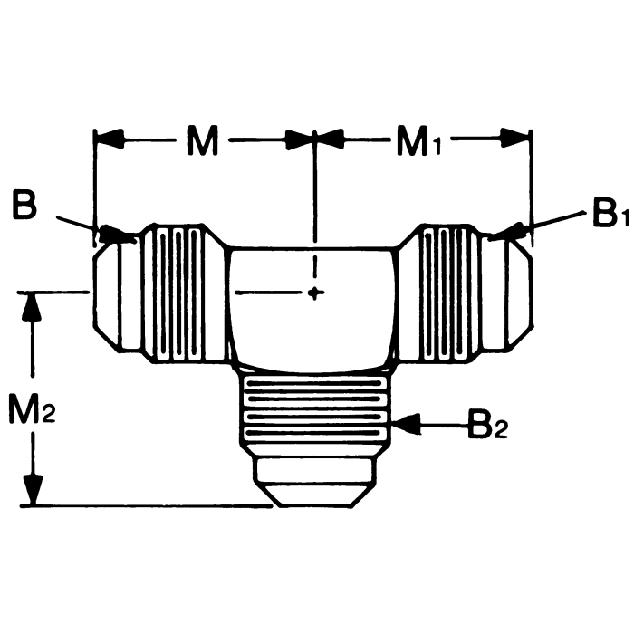
Brass Adapters, Male SAE 45 deg Flare Run To Male SAE 45 deg Flare Branch, Tee

Products