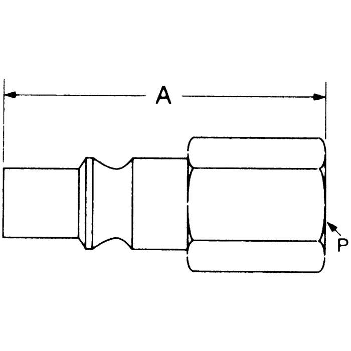
Auto-Flo 23 Series - Aro 210 Interchange Air Quick Disconnects, Male Half, Female NPT

Products