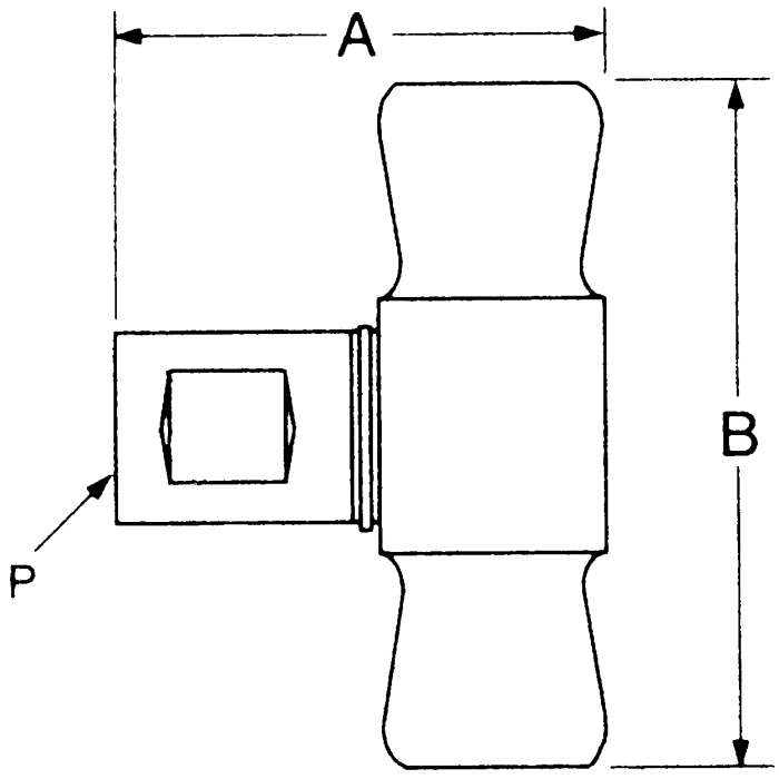
5100 Series Low Spill Connect Under Pressure Quick Disconnects, Female Half, Female Pipe

Products